Follow these procedures to get the perfect assemblies for the tube fittings.
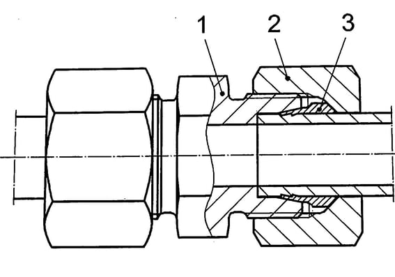
Body
Nut
Ferrule [ Cutting Ring ]
Weldable Nipple [ Including O-Ring ]
Privacy Policy
Terms of use
Support
Learn more.. Shop more only at Aaliqadr Hydraulics Private Ltd.
Mail Support
Technical Information
Anonymous Review
Authentic Distributors
Store
Services
Hydraulic Tube Fittings
Industrial Hose
Accessories
ISO Certifications
Aaliqadr Dealership
Career at Aaliqadr
Read our blogs